sunbet申搏官方网站

地址:乐清经济开发区纬十八路281号

邮编:325600

电话:0577-62666201

传真:0577-62666201

E-mail:canin@china-canin.com

填写您的疑问和需求
*必填
*必填
*必填
X

sunbet申搏产品

当前位置: sunbet申搏产品  /   高压真空断路器  /  

ZN85-40.5

ZN85-40.5

ZN85-40.5

发布于2020-05-16
8500次查看

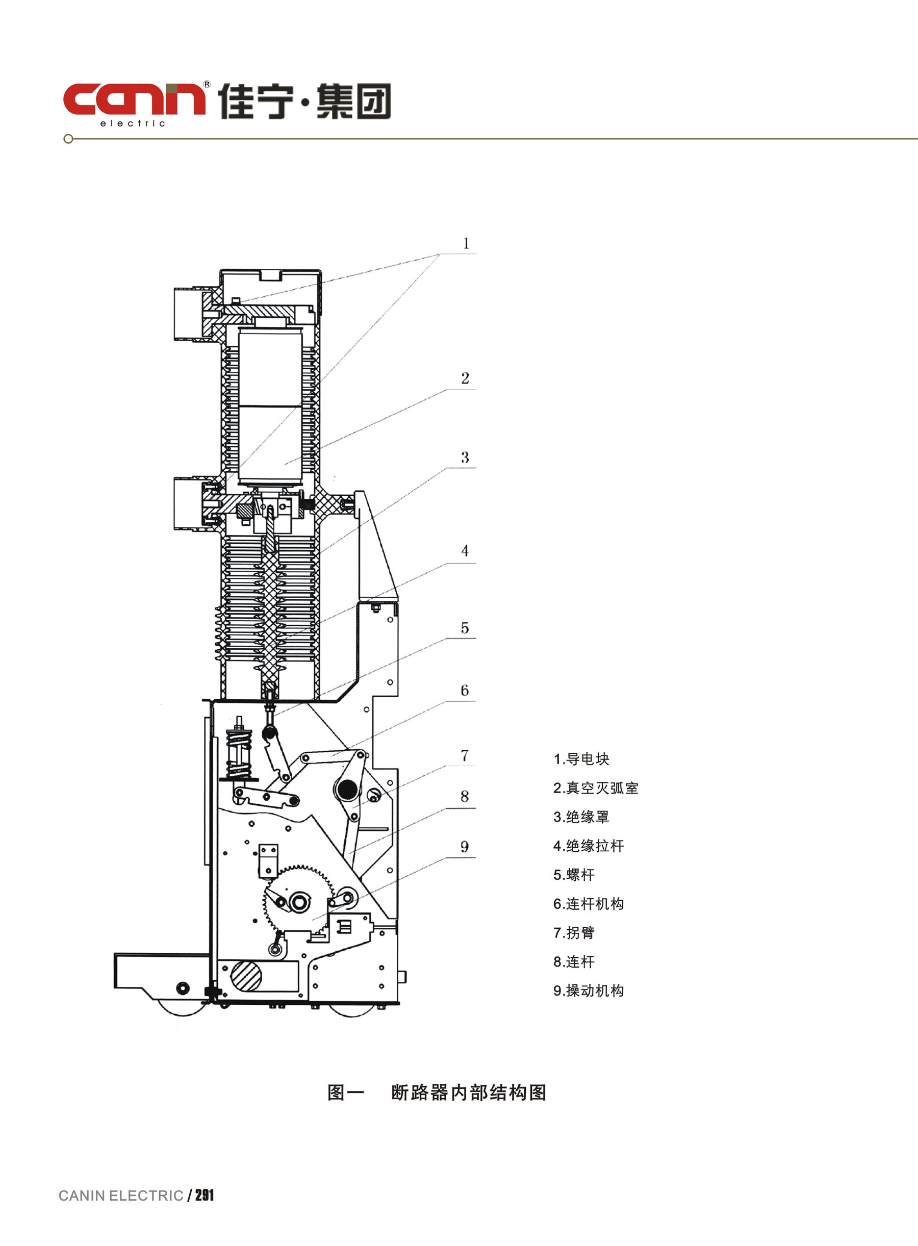
详情描述

  • 产品描述
  • 电路方案图
  • 订货须知